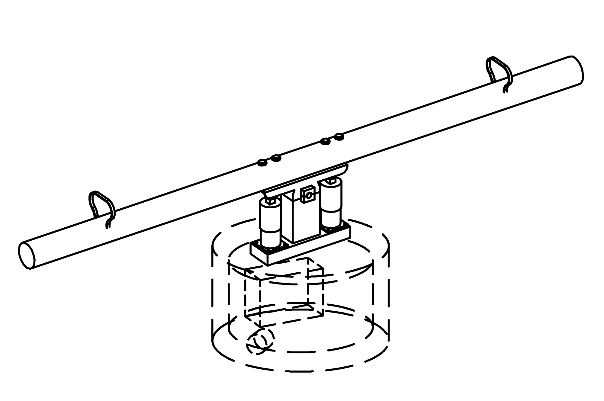
Pumpenwippe für Wasserwald mit Ventilsystem
Pumpenwippe für Wasserwald mit VentilsystemPumpenwippe für Wasserwald mit Ventilsystem

Pumpenwippe für Wasserwald mit Ventilsystem

Gerät aus nicht imprägnierter Gebirgslärche, 1 Ausgang.
Druckwasserleitung: 2,5 - max. 6 bar
Anschlussgewinde: 1 Zoll innen
Druckwasserleitung: Ø 1 Zoll
Wasserbedarf: ca. 20l/min
Artikel-Nr.
5.27020

Dimension

Länge cm:400
Breite cm:100
Höhe cm:100

Fallraum

Länge cm:600
Breite cm:220
Höhe cm:150

Montage

Bodenverankerung:zum Eingraben auf tragfähigen, druckfesten Untergrund
Wasser mit der eigenen Körperkraft in Bewegung zu versetzen und die unmittelbare Wirkung am kraftvollen Wasserstrahl zu erkennen, dieser Zusammenhang wird an unseren unterschiedlichen Pumpen zum zentralen Erlebnis. Durch die Pumpen wird Wasser als Element erfahrbar und greifbar.